秋高气爽月明朗,花好人间共良辰!国庆柔风拂华夏,幸福安康绕万家!感谢您关注金迪冶金【知识新闻资讯】栏目!敦煌莫高窟国庆特展迎来国际学者,壁画修复技术共享方案同步发布,文化遗产保护成为文明对话的命运纽带。1950年10月上旬,应朝鲜党和政府的请求,中共中央作出抗美援朝、保家卫国的战略决策。10月8日,毛泽东发布命令,组成中国人民志愿军,任命彭德怀为司令员兼政治委员。10月19日,中国人民志愿军入朝作战。强信念共崛起,金迪提醒各位冷轧带肋钢筋加工业界客户朋友:脱贫攻坚,全面小康;强国强军,和平崛起;百年梦想,志在必得!感谢您关注巩义市金迪冶金设备有限公司网站http://www.ye-jin.com,欢迎拨打冷轧机,冷轧设备,冷轧带肋系列产品技术咨询电话:13703999014!盛世中国,荣耀千秋;冷轧机,冷轧设备,冷轧带肋合作伙伴金迪冶金与您同行,愿国运恒通、您梦想成真!
热线
您当前所在的位置:首页>公司新闻>

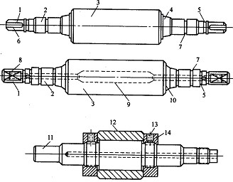
冷轧机轧辊的结构图

冷轧机轧辊的结构图

添加时间:2012/9/20 10:21:29

冷轧机轧辊的结构图
 

轧辊是冷轧机轧制过程中用来使金属产生塑性变形的工具,是冷轧机的主要部件。当然,该部件也是故障率出现较多、也需客户着力对其进行维护保养的重要部件。但由于很多客户对轧辊的结构不甚了解,所以使得很多客户对其维护保养不甚到位,致使冷轧机常常出现停机检修的现象。巩义市金迪冶金设备有限公司为了解决客户在冷轧作业中所遇到的难题,特将冷轧机轧辊的结构图发表于公司网站内,以方便客户的查阅、浏览。

         根据冷轧机轧辊的结构图,我们从中可观察出,轧辊一由14个部件构成,分别是1-传动端;2-辊颈;3-辊身;4-圆锥过渡区;5-紧固件槽;6-键槽;7-辊颈润滑油沟;8-平口;9-内孔;lO-双圆锥过渡区;11-心轴;12-硬质合金套;13-螺钉;14-轴向紧定用螺母等构成。
       冷轧机轧辊的结构图就是上述内容。巩义市金迪冶金设备有限公司生产的机器设备有:冷轧机、冷轧设备、两肋冷轧机、冷轧带肋钢筋设备、冷轧带肋钢筋生产线、热轧收线机、钢筋调直切断机、钢筋调直机、钢筋切断机、飞剪切断机、钢筋延伸机、高频热处理设备、三级钢调直切断机、工字轮收线机、钢筋翻转料架等。网址www.ye-jin.com,电话:13703999014、0371-64388822传真:0371-64382209刘经理:13703999014李经理:13703999014向我公司咨询洽谈! 

 
 工程案例
 发货现场
 
 
 

               地址:河南省巩义市孝义路75号
               电话: 13703999014
               网址:http://www.ye-jin.com

                 
 
 冷轧机|冷轧设备|两肋冷轧机|钢筋调直切断机|钢筋调直机|钢筋切断机
版权所有 巩义市金迪冶金设备有限公司   管理入口 地 址:河南省巩义市孝义路75号 电 话:13703999014 李经理  手机版
豫ICP备16030842号   
豫公网安备41910102000768号  传 真:0371-64382209   邮 箱:5651359@qq.com 网 址:www.ye-jin.com